BioWorld. Link to homepage.

Clarivate
  • BioWorld
  • BioWorld Science
  • BioWorld Asia
  • Data Snapshots
    • Biopharma
    • Medical technology
    • Infographics: Dynamic digital data analysis
    • Index insights
    • NME Digest
  • Special reports
    • Infographics: Dynamic digital data analysis
    • Trump administration impacts
    • Under threat: mRNA vaccine research
    • BioWorld at 35
    • Biopharma M&A scorecard
    • Bioworld 2025 review
    • BioWorld MedTech 2025 review
    • BioWorld Science 2025 review
    • Women's health
    • China's GLP-1 landscape
    • PFA re-energizes afib market
    • China CAR T
    • Alzheimer's disease
    • Coronavirus
    • More reports can be found here

BioWorld. Link to homepage.

  • Sign In
  • Sign Out
  • My Account
Subscribe
BioWorld - Wednesday, February 25, 2026
Home » Newsletters » BioWorld MedTech

BioWorld MedTech

Sep. 5, 2023

View Archived Issues
Biocardia Cardiamp cell therapy

Heartbreaking results for Cardiamp heart failure trial

When the data and safety monitoring board (DSMB) for Biocardia Inc.’s phase III pivotal trial of its Cardiamp cell therapy for heart failure advised pausing the study in July to analyze the interim results, the company expressed confusion as there were no reported treatment-emergent safety issues and aggregated blinded data showed better than expected outcomes. With the recommended external analysis now complete, the company confirmed the study is unlikely to achieve its primary endpoint at one year. The trial has now been unblinded.

Read More

Amber Therapeutics acquires provider of UI bioelectrical stimulation device

Amber Therapeutics Ltd. has acquired Bioinduction Ltd. as well as its neuromodulation therapy platform, Picostim Dyneumo. Amber is currently using the platform, an implantable system to deliver its closed-loop therapy for mixed urinary incontinence, Amber-UI, in a first-in-human study. With early indications confirming the safety and feasibility of the surgical procedure and adaptive therapy, it made sense to acquire the hardware which allows for the therapy to work, CEO Aidan Crawley, CEO and co-founder of Amber told BioWorld. Read More
US-health-flag-medicare.png

Med-tech industry nominally supportive of TCET, but urges Medicare agency to expand scope

The proposed U.S. Medicare framework titled Transitional Coverage for Emerging Technologies (TCET) promises to expand on existing mechanisms for Medicare device coverage, but industry has serious misgivings about the proposal.

Read More

FDA sees lack of alternatives for Datascope balloon pumps despite recalls

The U.S. FDA recently posted another round of recalls for the Cardiosave line of intra-aortic balloon pumps (IABPs) by Datascope Corp., advising users to make sure they have a backup unit at the ready in the case of device failure. However, the agency noted that “alternative treatments are limited,” a clear sign that this market lacks competition, most likely due to a lack of incentives for the private sector to invest in this class of devices. Read More
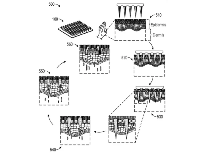
Melting microneedle patches

Patent update: Georgia Tech develops wax microneedle drug delivery patches

Researchers at the Georgia Institute of Technology (Georgia Tech) in Atlanta have developed melting microneedle patches comprising a drug dissolved or dispersed in a wax. Read More

Appointments and advancements for Sept. 5, 2023

New hires and promotions in the med-tech industry, including: Agilent Technologies, Breathe Biomedical, Cordis, Graticule, Illumina. Read More

In the clinic for Sept. 5, 2023

Clinical updates, including trial initiations, enrollment status and data readouts and publications: Acupath Laboratories, Bellaseno, Biocardia. Read More

Med-tech gainers and losers for Aug. 28-Sept. 1, 2023

The top 10 med-tech stock gainers and losers for the week. Read More

Other news to note for Sept. 5, 2023

Med-tech happenings, including deals and partnerships, grants, preclinical data and other news in brief: Ärztliches Labor Dr. Buhlmann, Clearday, Guardant, IBT, Magassist, Mainz Biomed, Medalliance, Synchron, Viveon. Read More

Regulatory actions for Sept. 5, 2023

Regulatory snapshots, including global submissions and approvals, clinical trial approvals and other regulatory decisions and designations: Nanjing Changcheng Medical Equipment, Guardant Health, Gendius, Icecure Medical, Medimaps Group, Rapid Medical, Techsomed. Read More

Holiday notice

BioWorld's offices were closed in observance of Labor Day in the U.S. No issue was published Monday, Sept. 4. Read More

Popular Stories

  • Today's news in brief

    BioWorld
  • IL-22 and TL1A, a robust couple for diagnosing hidradenitis suppurativa

    BioWorld Science
    Hidradenitis suppurativa (HS) is a chronic inflammatory skin disease with strong association with psoriasis and inflammatory bowel disease (IBD). While some...
  • Illustration of head with maze that is missing parts

    Inhibiting the NLRP3 inflammasome for cognitive impairment, stroke

    BioWorld Science
    Vascular cognitive impairment and dementia (VCID) and cerebral small vessel disease are among the leading causes of dementia, where inflammation is known to play...
  • Pill in immersive interface

    New mechanism of action identified for QC-6352

    BioWorld Science
    QC-6352 is a small molecule developed to inhibit the histone demethylase 4 (KDM4) that has shown potent antitumoral activity and which has a derivative named...
  • Illustration of brain and antibodies

    VST Bio’s VB-001 is neuroprotector after stroke

    BioWorld Science
    At the recent International Stroke Conference, researchers from VST Bio Corp. and Yale University presented preclinical data regarding VB-001, a monoclonal...
  • BioWorld
    • Today's news
    • Analysis and data insight
    • Clinical
    • Data Snapshots
    • Deals and M&A
    • Financings
    • Medical technology
    • Newco news
    • Opinion
    • Regulatory
  • BioWorld Science
    • Today's news
    • Biomarkers
    • Cancer
    • Conferences
    • Endocrine/metabolic
    • Immune
    • Infection
    • Neurology/psychiatric
    • NME Digest
    • Patents
  • BioWorld Asia
    • Today's news
    • Analysis and data insight
    • Australia
    • China
    • Clinical
    • Deals and M&A
    • Financings
    • Newco news
    • Regulatory
    • Science
  • More
    • About
    • Advertise with BioWorld
    • Archives
    • Article reprints and permissions
    • Contact us
    • Cookie policy
    • Copyright notice
    • Data methodology
    • Infographics: Dynamic digital data analysis
    • Index insights
    • Podcasts
    • Privacy policy
    • Share your news with BioWorld
    • Staff
    • Terms of use
    • Topic alerts
Follow Us

Copyright ©2026. All Rights Reserved. Design, CMS, Hosting & Web Development :: ePublishing