BioWorld. Link to homepage.

Clarivate
  • BioWorld
  • BioWorld Science
  • BioWorld Asia
  • Data Snapshots
    • Biopharma
    • Medical technology
    • Infographics: Dynamic digital data analysis
    • Index insights
    • NME Digest
  • Special reports
    • Infographics: Dynamic digital data analysis
    • Trump administration impacts
    • Med-tech outlook 2026
    • Under threat: mRNA vaccine research
    • BioWorld at 35
    • Biopharma M&A scorecard
    • Bioworld 2025 review
    • BioWorld MedTech 2025 review
    • BioWorld Science 2025 review
    • Women's health
    • China's GLP-1 landscape
    • PFA re-energizes afib market
    • China CAR T
    • Alzheimer's disease
    • Coronavirus
    • More reports can be found here

BioWorld. Link to homepage.

  • Sign In
  • Sign Out
  • My Account
Subscribe
BioWorld - Monday, March 30, 2026
Home » brain-computer interface

Articles Tagged with ''brain-computer interface''

WO2025049953-A1, “Conductive microwire-based biochemical sensors for real-time neurological monitoring.”

Neurothread biosignal monitoring could sew up neurological diagnoses

March 20, 2025
By Simon Kerton
Researchers from The Ohio State University have filed for protection of Neurothread, a wire-type neurotransmitter-sensing platform that utilizes the cross-section of commercially available ultrathin microwires as microelectrodes.
Read More
Brain and neural networks

Precision Neuroscience initiates brain computer interface study

March 3, 2025
By Shani Alexander
Precision Neuroscience Inc. recently partnered with Beth Israel Deaconess Medical Center to test its brain computer interface, the Layer 7 Cortical Interface, during craniotomy procedures.
Read More
Illustration of bionic arm

BCI enables sense of touch in bionic arm

Jan. 23, 2025
By Shani Alexander
In a boon for companies developing brain-computer interface (BCI) technologies, researchers have used a BCI and artificial intelligence to restore touch sensations in a bionic arm.
Read More
Illustration of head with circuit board brain
Year in review

BCI devices make strides

Dec. 23, 2024
By Shani Alexander
Companies developing brain-computer interface (BCI) technologies certainly stepped up their activities this year with several starting to implant their devices into humans. After decades as an experimental technology pursued exclusively in research settings, BCI devices could be just a few years away from entering clinical practice – and investors are paying attention.
Read More
Layer 7 Cortical Interface

Precision Neuroscience raises $102M for AI-powered BCI technology

Dec. 19, 2024
By Shani Alexander
Precision Neuroscience Corp. recently raised $102 million in a series C funding round for its AI-powered brain–computer interface (BCI) technology, the Layer 7 Cortical Interface. The funding comes as interest in the technology heats up as clinical trials show that BCI devices are capable of transforming the lives of people with disabilities.
Read More
Inbrain graphene-based cortical brain interface

Inbrain raises $50M to advance clinical trials for BCI technology

Nov. 1, 2024
By Shani Alexander
Inbrain Neuroelectronics SL closed a $50 million series B financing round to advance clinical trials for its graphene-based brain-computer interface therapeutics platform. The company also secured additional funding from Merck KGaA GmbH which will go towards developing the technology for application across both central and peripheral nervous systems.
Read More
Onward Medical ARC-IM and BCI
LSI Europe Summit 2024

Onward Medical seeks to restore movement in people with SCI

Sep. 23, 2024
By Shani Alexander
Onward Medical NV successfully implanted its Arc-BCI system, which restores direct communication from the brain to the spinal cord enabling lower limb mobility, into a third patient.
Read More
Harrell ALS BCI

Brain-computer interface restores ALS patient's voice

Aug. 22, 2024
By Holland Johnson
A new brain-computer interface (BCI) developed at UC Davis Health is able to translate brain signals into speech with up to 97% accuracy – the most accurate system of its kind.
Read More
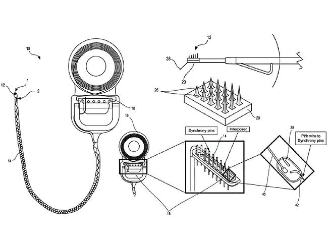
Synchron Inc Stentrode brain implant

Synchron links brain implant device to Apple Vision Pro

Aug. 2, 2024
By Tamra Sami
Neurotech startup Synchron Inc. connected its brain implant to Apple’s Vision Pro headset, enabling patients with limited physical mobility to control the device using only their thoughts. Synchron is building an endovascular brain-computer interface designed to help patients with paralysis operate technology like smartphones and computers with their minds.
Read More
ecate
Patents

Ecate probes allow paralyzed patients to regain control of lost functions

July 16, 2024
By Simon Kerton
The first patenting from Los Angeles-based Ecate LLC sees the company’s founder, Allesandro Maggi, describe a bi-directional, closed-loop spinal cord machine interface that can bridge the gap in communication between the brain and the body in paralyzed patients.
Read More
Previous 1 2 3 4 Next

Popular Stories

  • Today's news in brief

    BioWorld
    BioWorld briefs for March 30, 2026.
  • Art concept for Parkinson's disease

    Emerging therapeutic strategies for Parkinson’s at ADPD 2026

    BioWorld
    Parkinson’s disease (PD) involves the progressive loss of dopaminergic neurons, particularly in the substantia nigra. This neurodegeneration is linked to the...
  • Comparison of neurons in a healthy brain and nerve cells in neurodegenerative disease with amyloid plaques

    Small-molecule TREM2 agonist advances to treat Alzheimer’s

    BioWorld Science
    Microglia play a central role in the neuroinflammation associated with Alzheimer’s disease (AD). These cells act as the brain’s immune system and respond to...
  • Vials, syringes, and pills

    With improved technologies, biomarkers, failed drugs may come into their own

    BioWorld
    At BioEurope Spring 2026, pharma representatives and investors shared their thoughts about current and future landscapes of different disease areas, and on how to...
  • News in brief

    BioWorld Asia
    BioWorld Asia briefs for March 24, 2026
  • BioWorld
    • Today's news
    • Analysis and data insight
    • Clinical
    • Data Snapshots
    • Deals and M&A
    • Financings
    • Medical technology
    • Newco news
    • Opinion
    • Regulatory
  • BioWorld Science
    • Today's news
    • Biomarkers
    • Cancer
    • Conferences
    • Endocrine/metabolic
    • Immune
    • Infection
    • Neurology/psychiatric
    • NME Digest
    • Patents
  • BioWorld Asia
    • Today's news
    • Analysis and data insight
    • Australia
    • China
    • Clinical
    • Deals and M&A
    • Financings
    • Newco news
    • Regulatory
    • Science
  • More
    • About
    • Advertise with BioWorld
    • Archives
    • Article reprints and permissions
    • Contact us
    • Cookie policy
    • Copyright notice
    • Data methodology
    • Infographics: Dynamic digital data analysis
    • Index insights
    • Podcasts
    • Privacy policy
    • Share your news with BioWorld
    • Staff
    • Terms of use
    • Topic alerts
Follow Us

Copyright ©2026. All Rights Reserved. Design, CMS, Hosting & Web Development :: ePublishing