BioWorld. Link to homepage.

Clarivate
  • BioWorld
  • BioWorld Science
  • BioWorld Asia
  • Data Snapshots
    • Biopharma
    • Medical technology
    • Infographics: Dynamic digital data analysis
    • Index insights
    • NME Digest
  • Special reports
    • Infographics: Dynamic digital data analysis
    • Trump administration impacts
    • Med-tech outlook 2026
    • Under threat: mRNA vaccine research
    • BioWorld at 35
    • Biopharma M&A scorecard
    • Bioworld 2025 review
    • BioWorld MedTech 2025 review
    • BioWorld Science 2025 review
    • Women's health
    • China's GLP-1 landscape
    • PFA re-energizes afib market
    • China CAR T
    • Alzheimer's disease
    • Coronavirus
    • More reports can be found here

BioWorld. Link to homepage.

  • Sign In
  • Sign Out
  • My Account
Subscribe
BioWorld - Monday, March 23, 2026
Home » Newsletters » BioWorld MedTech

BioWorld MedTech

Feb. 23, 2024

View Archived Issues
Zimmer Biomet Rosa shoulder

Zimmer Biomet wins new FDA clearance of Rosa robotic shoulder system

Zimmer Biomet Holdings Inc.’s Rosa robotics surgical assistant snapped up its fourth application with the U.S. FDA’s 510(k) clearance for use in shoulder replacement surgery. Over the past five years, the system has built a portfolio that includes partial and total knee replacement and total hip replacement. Read More
Financial graph

Vessi secures $16.5M in series A funding for bladder cancer tech

Vessi Medical Ltd. recently closed a series A financing round at $16.5 million for the advancement of its cryotherapy technology to treat non-muscle invasive bladder cancer (NMIBC). Vessi believes that its minimally invasive device can provide a therapeutic alternative to a transurethral resection of bladder tumor (TURBT) procedure, the current first line therapy to treat the disease. Read More
Illustration of Alzheimer’s in the brain.

Blood-based test for Alzheimer’s disease surpasses 96% accuracy

A new cutting-edge blood-based biomarker test developed by researchers at Hong Kong University of Science and Technology can detect early Alzheimer’s disease (AD) and mild cognitive impairment (MCI), with accuracy rates surpassing 96% and 87% respectively, and could be a game changer in detecting and treading early AD. Read More
FDA icons and doctor

FDA still undecided on the use of silicone in endotracheal tubes

The U.S. FDA issued an update to a previous advisory to doctors regarding the use of electromyogram endotracheal tubes made by Dublin-based Medtronic plc., but there is still some noise in the agency’s communications regarding this matter. Read More
All of Us illustration

All of Us: 413,000 genomes across ancestries, ages, socioeconomics

Since its founding by the National Institutes of Health (NIH), the scientists of the All of Us Research Program have set the goal to analyze the largest diversity of the genomic population in the country and end the under-representation of its different groups. The project has expanded the vision of several pathologies, discovered thousands of new genetic variants, redefined the risk genes for common diseases, and stratified them, uncovering eight different forms in the case of type 2 diabetes (T2D). Their results create a pathway for a new age of precision medicine. Read More
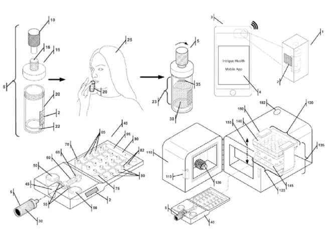
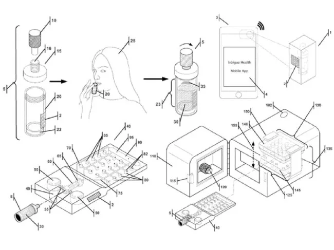
intrigue health at-home diagnostic

Intrigue Health reveals its POC device for at-home testing

In what represents its first patenting, San Diego-based Intrigue Health Inc. seeks protection for a diagnostic kit that its inventors say will bring clinical laboratory quality testing directly into the home and to non-healthcare facilities. Read More
DNA with bar chart

Explore BioWorld’s comprehensive infographics collection

Discover a wealth of industry insights with BioWorld’s extensive collection of infographics, covering the latest trends and developments in both biopharma and med-tech. Our weekly infographics are curated to provide concise summaries of key topics: financings (IPOs, private financings, public/other and follow-on offerings), deals and M&As (top deals, and monthly value and volume), regulatory (including U.S. FDA and worldwide approvals), clinical trials and more. In addition, you’ll find access to BioWorld’s year-in-review reports, as well as special infographics about obesity, pain and addiction, biosimilars and the aging space. Read More

Appointments and advancements for Feb. 23, 2024

New hires and promotions in the med-tech industry, including: Bonesupport, Seek Labs. Read More

Financings for Feb. 23, 2024

Med-tech firms raising money in public or private financings, including: Axonics, Boston Scientific, Venus Concept. Read More

Other news to note for Feb. 23, 2024

Med-tech happenings, including deals and partnerships, grants, preclinical data and other news in brief: Almaden, Atrium Health, Bigomics, BMI Organbank Cleerly. Read More

Regulatory actions for Feb. 23, 2024

Regulatory snapshots, including global submissions and approvals, clinical trial approvals and other regulatory decisions and designations: Clearpoint Neuro, CSL Vifor, Travere. Read More

Popular Stories

  • Today's news in brief

    BioWorld
  • Art concept for targeting the brain

    Precision psychiatry beyond, or before, biomarkers

    BioWorld
    There is broad agreement that psychiatric diagnoses in their current form are not reflective of any underlying biology, and that this is one of the things...
  • MRI image brain on black background

    ADPD 2026: Can we prevent dementia? Scientists quantify it

    BioWorld
    Neurodegenerative disease and cognitive decline cannot be explained by a single process. Beta-amyloid plaques, hyperphosphorylated tau, alpha-synuclein, activated...
  • Illustration of Alzheimer's disease in the brain

    ADPD 2026: Three inflection points to target Alzheimer’s disease

    BioWorld Science
    A new way of understanding Alzheimer’s disease, based on biological inflection points that mark decisive moments in the progression of the disorder, could change...
  • First-in-class POLG activator restores mtDNA across mutations

    BioWorld Science
    Researchers from Pretzel Therapeutics Inc. presented preclinical data of PX-578, a first-in-class POLG activator aimed at restoring mtDNA replication and...
  • BioWorld
    • Today's news
    • Analysis and data insight
    • Clinical
    • Data Snapshots
    • Deals and M&A
    • Financings
    • Medical technology
    • Newco news
    • Opinion
    • Regulatory
  • BioWorld Science
    • Today's news
    • Biomarkers
    • Cancer
    • Conferences
    • Endocrine/metabolic
    • Immune
    • Infection
    • Neurology/psychiatric
    • NME Digest
    • Patents
  • BioWorld Asia
    • Today's news
    • Analysis and data insight
    • Australia
    • China
    • Clinical
    • Deals and M&A
    • Financings
    • Newco news
    • Regulatory
    • Science
  • More
    • About
    • Advertise with BioWorld
    • Archives
    • Article reprints and permissions
    • Contact us
    • Cookie policy
    • Copyright notice
    • Data methodology
    • Infographics: Dynamic digital data analysis
    • Index insights
    • Podcasts
    • Privacy policy
    • Share your news with BioWorld
    • Staff
    • Terms of use
    • Topic alerts
Follow Us

Copyright ©2026. All Rights Reserved. Design, CMS, Hosting & Web Development :: ePublishing