BioWorld. Link to homepage.

Clarivate
  • BioWorld
  • BioWorld Science
  • BioWorld Asia
  • Data Snapshots
    • Biopharma
    • Medical technology
    • Infographics: Dynamic digital data analysis
    • Index insights
    • NME Digest
  • Special reports
    • Infographics: Dynamic digital data analysis
    • Trump administration impacts
    • Med-tech outlook 2026
    • Under threat: mRNA vaccine research
    • BioWorld at 35
    • Biopharma M&A scorecard
    • Bioworld 2025 review
    • BioWorld MedTech 2025 review
    • BioWorld Science 2025 review
    • Women's health
    • China's GLP-1 landscape
    • PFA re-energizes afib market
    • China CAR T
    • Alzheimer's disease
    • Coronavirus
    • More reports can be found here

BioWorld. Link to homepage.

  • Sign In
  • Sign Out
  • My Account
Subscribe
BioWorld - Thursday, April 2, 2026
Home » Newsletters » BioWorld MedTech

BioWorld MedTech

May 9, 2024

View Archived Issues
Virtual IP display

US FDA says it will inspect independent medical device servicers

The U.S. FDA finalized a guidance for third-party servicing of medical devices, which helps to clarify the distinction between servicing and remanufacturing of a device. However, the most significant change from the draft guidance is that the agency openly declared that it will inspect these independent services organizations, a dramatic shift from the agency’s previous formal stance on these entities. Read More
3D illustration of transparent human torso with close up of spinal cord

Red light therapy found to help regenerate spinal cord cells

Researchers have developed a method to repair nerve connections in patients with spinal cord injuries using red and near-infrared light. The team from the University of Birmingham, U.K., are now planning to develop an implantable device to help surgeons protect and repair the spinal cord. Read More
FieldForce Catheter

Field Medical begins first-in-human trials for ventricular PFA

Field Medical Inc. kicked off its first-in-human study for its Fieldforce ablation system, designed for use in ventricular arrhythmias. The Ventricular Catheter Ablation Study study will enroll 60 patients in five centers around the world, most recently kicking off in the Na Homolce Hospital in Prague, Czech Republic. Read More
Meeting illustration

US FDA adcoms turn the corner on pandemic

Right on cue, the U.S. FDA’s Center for Drug Evaluation and Research (CDER) is scheduling its first in-person advisory committee meetings since the COVID-19 pandemic. Speaking during a May 6 webinar hosted by the Alliance for a Stronger FDA, CDER Director Patrizia Cavazzoni said the center was preparing to go back to in-person adcoms, adding that the first step likely would be a hybrid model. Read More
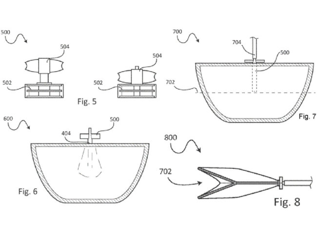
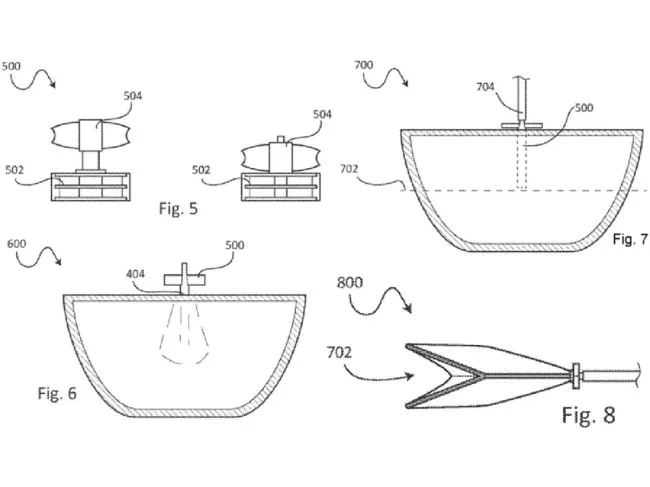
Cranius

Cranius reveals drug reservoir design for brain drug delivery device

The latest patent filing from Cranius LLC describes a reservoir for its implanted drug delivery devices which is shaped and formed to empty and fill reliably without any concern for neighboring organ impingement or compression, and which can precisely control and monitor exactly just how much of a medicine is being delivered. Read More

Appointments and advancements for May 9, 2024

New hires and promotions in the med-tech industry, including: Apyx Medical, Boston Scientific, Carna Health, Imunon, Pelvital, R3 Vascular. Read More

Financings for May 9, 2024

Med-tech firms raising money in public or private financings, including: R3 Vascular, Rxsight, Tivic Health. Read More

In the clinic for May 9, 2024

Clinical updates, including trial initiations, enrollment status and data readouts and publications: Avenda Health, Corvia Medical. Read More

Other news to note for May 9, 2024

Med-tech happenings, including deals and partnerships, grants, preclinical data and other news in brief: Arecor, Biolabs, Danaher, Edwards, Elekta, Medtronic, Philips, Pulse Biosciences, Reflow Medical, Sam Medical, Samsung Medison, Sonio, Tri-Tech Forensics, Volta Medical, Watmind. Read More

Regulatory actions for May 9, 2024

Regulatory snapshots, including global submissions and approvals, clinical trial approvals and other regulatory decisions and designations: Biogennix, Freyja, Othofix, Orthoxel, Terumo. Read More
cybersecurity-data-lock.png

BioWorld reader feedback needed: Cyberattack impact survey

The recent cyberattack on Change Healthcare, a part of the Unitedhealth Group, crippled reimbursement claims processing for thousands of providers for several weeks and potentially exposed troves of patient data. Congressional committees are investigating the attack, its scope, and Unitedhealth’s response. Please take a few minutes to fill out this short survey to help BioWorld understand how your company is responding to these threats. You can click through to the questions here. Read More

Popular Stories

  • Today's news in brief

    BioWorld
    BioWorld briefs for April 1, 2026.
  • Art concept for Parkinson's disease

    Emerging therapeutic strategies for Parkinson’s at ADPD 2026

    BioWorld
    Parkinson’s disease (PD) involves the progressive loss of dopaminergic neurons, particularly in the substantia nigra. This neurodegeneration is linked to the...
  • Vials, syringes, and pills

    With improved technologies, biomarkers, failed drugs may come into their own

    BioWorld
    At BioEurope Spring 2026, pharma representatives and investors shared their thoughts about current and future landscapes of different disease areas, and on how to...
  • Comparison of neurons in a healthy brain and nerve cells in neurodegenerative disease with amyloid plaques

    Small-molecule TREM2 agonist advances to treat Alzheimer’s

    BioWorld Science
    Microglia play a central role in the neuroinflammation associated with Alzheimer’s disease (AD). These cells act as the brain’s immune system and respond to...
  • News in brief

    BioWorld Asia
    BioWorld Asia briefs for March 31, 2026
  • BioWorld
    • Today's news
    • Analysis and data insight
    • Clinical
    • Data Snapshots
    • Deals and M&A
    • Financings
    • Medical technology
    • Newco news
    • Opinion
    • Regulatory
  • BioWorld Science
    • Today's news
    • Biomarkers
    • Cancer
    • Conferences
    • Endocrine/metabolic
    • Immune
    • Infection
    • Neurology/psychiatric
    • NME Digest
    • Patents
  • BioWorld Asia
    • Today's news
    • Analysis and data insight
    • Australia
    • China
    • Clinical
    • Deals and M&A
    • Financings
    • Newco news
    • Regulatory
    • Science
  • More
    • About
    • Advertise with BioWorld
    • Archives
    • Article reprints and permissions
    • Contact us
    • Cookie policy
    • Copyright notice
    • Data methodology
    • Infographics: Dynamic digital data analysis
    • Index insights
    • Podcasts
    • Privacy policy
    • Share your news with BioWorld
    • Staff
    • Terms of use
    • Topic alerts
Follow Us

Copyright ©2026. All Rights Reserved. Design, CMS, Hosting & Web Development :: ePublishing