BioWorld. Link to homepage.

Clarivate
  • BioWorld
  • BioWorld MedTech
  • BioWorld Asia
  • BioWorld Science
  • Data Snapshots
    • BioWorld
    • BioWorld MedTech
    • Infographics: Dynamic digital data analysis
    • Index insights
    • NME Digest
  • Special reports
    • Infographics: Dynamic digital data analysis
    • Trump administration impacts
    • Under threat: mRNA vaccine research
    • BioWorld at 35
    • Biopharma M&A scorecard
    • BioWorld 2024 review
    • BioWorld MedTech 2024 review
    • BioWorld Science 2024 review
    • Women's health
    • China's GLP-1 landscape
    • PFA re-energizes afib market
    • China CAR T
    • Alzheimer's disease
    • Coronavirus
    • More reports can be found here

BioWorld. Link to homepage.

  • Sign In
  • Sign Out
  • My Account
Subscribe
BioWorld - Sunday, December 14, 2025
Home » Newsletters » BioWorld MedTech

BioWorld MedTech

May 10, 2024

View Archived Issues
AI-network-machine-learning.png

Enlitic‘s AI tools help drain the imaging quagmire

Imaging is the number one way physicians track cancer progression and burdens within neurology and cardiology, but the ability to take imaging information and interact with it to make better decisions is becoming ever more complicated. Read More
regulatory-washington-us-flag.png

US FDA concessions on LDTs may blunt appetite for legislation

The U.S. FDA’s final rule for lab-developed tests was a long time in coming even if the agency shorted the public comment period for the draft rule, and the final rule makes several major concessions about circumstances in which the agency would exercise enforcement discretion. Read More
GI Genius Module

Medtronic teams up with Modmed for more efficient colonoscopies

Medtronic plc teamed up with healthtech software company Modernizing Medicine Inc. (ModMed) to make colonoscopy procedures more efficient by integrating data generated from Medtronic’s GI Genius system into ModMed's gGastro EHR software to enhance endoscopic care. Read More
Pill in immersive interface

Bio Korea 2024: AI teeters toward ‘necessity’ in new drug R&D

As the average cost of new drug R&D continues to skyrocket, the perception around using artificial intelligence (AI) as a tool to boost drug discovery is changing. “Developing new AI-based drugs is a difficult task, not only for Korea but also for countries with leading AI technology,” Hyeyun Jung, principal researcher of Korea Health Industry Development Institute’s Center for Health Industry Policy, told the audience at the Bio Korea meeting on May 9. “But there is a change in perception; [namely that] applying AI to new drug development is not an option but a necessity.” Read More
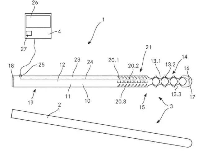
Rhovica Neuroimaging

Rhovica Neuroimaging's external ventricular catheter drainage system

In what represents its first patenting, Rhovica Neuroimaging AG seeks protection for an external ventricular drainage catheter for the drainage of cerebrospinal fluid to reduce intracranial pressure. The catheter is integrated with sensors which enable safe, fast and cost-efficient catheter placement and monitoring of brain ventricles. Read More
cybersecurity-data-lock.png

BioWorld reader feedback needed: Cyberattack impact survey

The recent cyberattack on Change Healthcare, a part of the Unitedhealth Group, crippled reimbursement claims processing for thousands of providers for several weeks and potentially exposed troves of patient data. Congressional committees are investigating the attack, its scope, and Unitedhealth’s response. Please take a few minutes to fill out this short survey to help BioWorld understand how your company is responding to these threats. You can click through to the questions here. Read More

Appointments and advancements for May 10, 2024

New hires and promotions in the med-tech industry, including: Nevro. Read More

Other news to note for May 10, 2024

Med-tech happenings, including deals and partnerships, grants, preclinical data and other news in brief: Acutus, Aethlon Medical, Applied DNA, Exact Sciences, Hyperfine, Rimidi, Senseonics, Steris. Read More

Popular Stories

  • Today's news in brief

    BioWorld
    BioWorld briefs for Dec. 12, 2025.
  • Today's news in brief

    BioWorld MedTech
    BioWorld MedTech briefs for Dec. 12, 2025.
  • Novo Nordisk semaglutide pill

    CTAD 2025: Diagnosing semaglutide’s failure in Alzheimer’s trials

    BioWorld
    A little over a week after announcing that the Evoke and Evoke+ studies failed to show that oral semaglutide could slow cognition decline in patients with...
  • Illustration of head with maze that is missing parts

    CTAD 2025: The challenges of combination therapies for dementia

    BioWorld Science
    At the Clinical Trials on Alzheimer’s Disease 2025 meeting, a panel of experts discussed the need for developing combination therapies for the complex diseases...
  • Brain and encephalography

    DEE-lightful: Praxis’ phase II results allow stock to flex its muscle

    BioWorld
    Positive efficacy results led to Praxis Precision Medicines Inc.’s phase II Embold study in developmental and epileptic encephalopathies (DEEs) being halted...
  • BioWorld
    • Today's news
    • Analysis and data insight
    • Clinical
    • Data Snapshots
    • Deals and M&A
    • Financings
    • Newco news
    • Opinion
    • Regulatory
    • Science
  • BioWorld MedTech
    • Today's news
    • Clinical
    • Data Snapshots
    • Deals and M&A
    • Financings
    • Newco news
    • Opinion
    • Regulatory
    • Science
  • BioWorld Asia
    • Today's news
    • Analysis and data insight
    • Australia
    • China
    • Clinical
    • Deals and M&A
    • Financings
    • Newco news
    • Regulatory
    • Science
  • BioWorld Science
    • Today's news
    • Biomarkers
    • Cancer
    • Conferences
    • Endocrine/Metabolic
    • Immune
    • Infection
    • Neurology/Psychiatric
    • NME Digest
    • Patents
  • More
    • About
    • Advertise with BioWorld
    • Archives
    • Article reprints and permissions
    • Contact us
    • Cookie policy
    • Copyright notice
    • Data methodology
    • Infographics: Dynamic digital data analysis
    • Index insights
    • Podcasts
    • Privacy policy
    • Share your news with BioWorld
    • Staff
    • Terms of use
    • Topic alerts
Follow Us

Copyright ©2025. All Rights Reserved. Design, CMS, Hosting & Web Development :: ePublishing