BioWorld. Link to homepage.

Clarivate
  • BioWorld
  • BioWorld Science
  • BioWorld Asia
  • Data Snapshots
    • Biopharma
    • Medical technology
    • Infographics: Dynamic digital data analysis
    • Index insights
    • NME Digest
  • Special reports
    • Infographics: Dynamic digital data analysis
    • Trump administration impacts
    • Under threat: mRNA vaccine research
    • BioWorld at 35
    • Biopharma M&A scorecard
    • Bioworld 2025 review
    • BioWorld MedTech 2025 review
    • BioWorld Science 2025 review
    • Women's health
    • China's GLP-1 landscape
    • PFA re-energizes afib market
    • China CAR T
    • Alzheimer's disease
    • Coronavirus
    • More reports can be found here

BioWorld. Link to homepage.

  • Sign In
  • Sign Out
  • My Account
Subscribe
BioWorld - Saturday, February 21, 2026
Home » Newsletters » BioWorld MedTech

BioWorld MedTech

Nov. 1, 2024

View Archived Issues
Inbrain graphene-based cortical brain interface

Inbrain raises $50M to advance clinical trials for BCI technology

Inbrain Neuroelectronics SL closed a $50 million series B financing round to advance clinical trials for its graphene-based brain-computer interface therapeutics platform. The company also secured additional funding from Merck KGaA GmbH which will go towards developing the technology for application across both central and peripheral nervous systems. Read More
Shockwave IVL

All-female trials in CVD recognize structural differences

Two recent trials in cardiovascular disease took critical steps toward addressing ongoing and deadly disparities in cardiac care by focusing entirely on women. Read More
Hand holding ballot over box, US flag backdrop

Change is the constant in wake of US elections

The drug and device industries have a lot hinging on the results of the Nov. 5 U.S. presidential and congressional elections. Tax policies. The reach of the FTC. Legislation aimed at drug prices, competition, pharmacy benefit managers and lab-developed tests. Cabinet and agency appointments that could reshape Medicare drug negotiations, the 340B program, FDA Orange Book device patent listings, regulatory flexibility and Bayh-Dole march-ins. And that’s just the top of the list. Read More
DNA, RNA concept art.

Inocras launches ‘panel-free’ whole genome MRD test for cancer

For Inocras Inc., the benefits of whole genome sequencing are two-fold. First is its explicit usefulness in diagnosing and treating hard-to-treat diseases like cancer and rare diseases. The second, less apparent, benefit lies in the data generated in the process, and its applications to current and future generations of cancer patients. Read More
deep-learning-1nov24.jpg

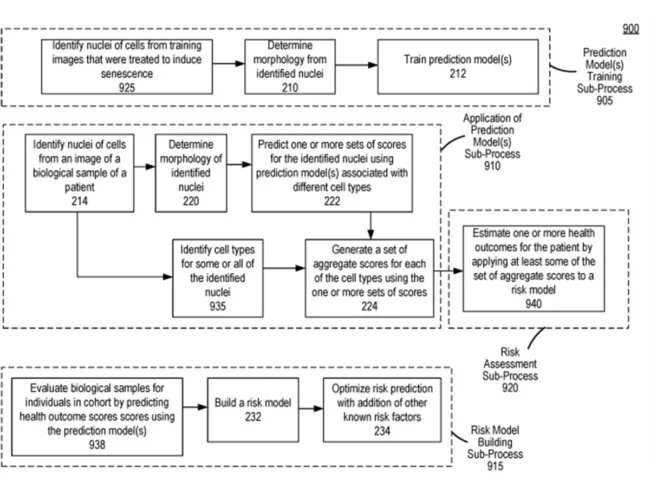
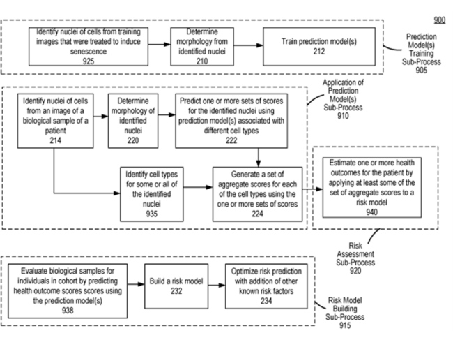
Deep learning models predict future cancer development

The first filing from Cancerrisk AI Inc. describes their development of a system that uses deep learning to predict future cancer risk from a biopsy image. Read More

Appointments and advancements for November 1, 2024

New hires and promotions in the med-tech industry, including: Elekta, Nabsys, Neurointact, Q’Apel. Read More

Financings for November 1, 2024

Med-tech firms raising money in public or private financings, including: Aignostics, Alimetry, Inbrain Neuroelectronics, Vara. Read More

In the clinic for November 1, 2024

Clinical updates, including trial initiations, enrollment status and data readouts and publications: Seno, Sinaptics, Surmodica. Read More

Other news to note for November 1, 2024

Med-tech happenings, including deals and partnerships, grants, preclinical data and other news in brief: Anika Therapeutics, Arthrosurface, Collagen Solutions, Cook Medical, Ensodata, Happy Health, Merit Medical, Mindpeak, Neuroone, Pangea Lab, Phoenix Brio, RTI Surgical, Sagis, Seastar Medical, Unilabs, Zimmer Biomet. Read More

Popular Stories

  • Today's news in brief

    BioWorld
  • IL-22 and TL1A, a robust couple for diagnosing hidradenitis suppurativa

    BioWorld Science
    Hidradenitis suppurativa (HS) is a chronic inflammatory skin disease with strong association with psoriasis and inflammatory bowel disease (IBD). While some...
  • 3D illustration of skin layers

    TL1A is overexpressed in hidradenitis suppurativa

    BioWorld Science
    Despite the availability of advanced therapeutic options, about 40%-50% of patients with hidradenitis suppurativa do not achieve significant improvement in...
  • Illustration of head with maze that is missing parts

    Inhibiting the NLRP3 inflammasome for cognitive impairment, stroke

    BioWorld Science
    Vascular cognitive impairment and dementia (VCID) and cerebral small vessel disease are among the leading causes of dementia, where inflammation is known to play...
  • Illustration of brain and antibodies

    VST Bio’s VB-001 is neuroprotector after stroke

    BioWorld Science
    At the recent International Stroke Conference, researchers from VST Bio Corp. and Yale University presented preclinical data regarding VB-001, a monoclonal...
  • BioWorld
    • Today's news
    • Analysis and data insight
    • Clinical
    • Data Snapshots
    • Deals and M&A
    • Financings
    • Medical technology
    • Newco news
    • Opinion
    • Regulatory
  • BioWorld Science
    • Today's news
    • Biomarkers
    • Cancer
    • Conferences
    • Endocrine/metabolic
    • Immune
    • Infection
    • Neurology/psychiatric
    • NME Digest
    • Patents
  • BioWorld Asia
    • Today's news
    • Analysis and data insight
    • Australia
    • China
    • Clinical
    • Deals and M&A
    • Financings
    • Newco news
    • Regulatory
    • Science
  • More
    • About
    • Advertise with BioWorld
    • Archives
    • Article reprints and permissions
    • Contact us
    • Cookie policy
    • Copyright notice
    • Data methodology
    • Infographics: Dynamic digital data analysis
    • Index insights
    • Podcasts
    • Privacy policy
    • Share your news with BioWorld
    • Staff
    • Terms of use
    • Topic alerts
Follow Us

Copyright ©2026. All Rights Reserved. Design, CMS, Hosting & Web Development :: ePublishing