BioWorld. Link to homepage.

Clarivate
  • BioWorld
  • BioWorld MedTech
  • BioWorld Asia
  • BioWorld Science
  • Data Snapshots
    • BioWorld
    • BioWorld MedTech
    • Infographics: Dynamic digital data analysis
    • Index insights
    • NME Digest
  • Special reports
    • Infographics: Dynamic digital data analysis
    • Trump administration impacts
    • Under threat: mRNA vaccine research
    • BioWorld at 35
    • Biopharma M&A scorecard
    • Bioworld 2025 review
    • BioWorld MedTech 2025 review
    • BioWorld Science 2025 review
    • Women's health
    • China's GLP-1 landscape
    • PFA re-energizes afib market
    • China CAR T
    • Alzheimer's disease
    • Coronavirus
    • More reports can be found here

BioWorld. Link to homepage.

  • Sign In
  • Sign Out
  • My Account
Subscribe
BioWorld - Tuesday, December 23, 2025
Home » Topics » Disease categories and therapies » Cardiovascular

Cardiovascular
Cardiovascular RSS Feed RSS

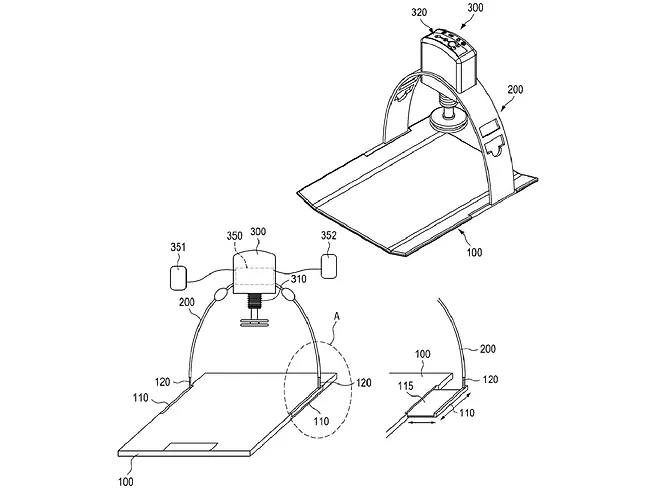
CPR AED device
Patents

CU Medical develops system combining CPR and AED

Feb. 6, 2024
By Simon Kerton
South Korea’s CU Medical Systems Inc. has applied for protection of a system that combines features of a cardiopulmonary resuscitation (CPR) device and an automatic external defibrillator (AED) and uses chest impedance measurements to optimize emergency treatment.
Read More
3D illustration of heart cross section

Bridgebio seeks Japan approval of acoramidis for rare heart disease

Feb. 5, 2024
By Marian (YoonJee) Chu
Armed with strong phase III safety data in Japanese patients, Palo Alto, Calif.-based Bridgebio Pharma Inc. is planning to file for Japan approval of its investigational drug acoramidis for a rare heart disorder.
Read More
3D illustration of heart cross section

Bridgebio seeks Japan approval of acoramidis for rare heart disease

Feb. 5, 2024
By Marian (YoonJee) Chu
Armed with strong phase III safety data in Japanese patients, Palo Alto, Calif.-based Bridgebio Pharma Inc. is planning to file for Japan approval of its investigational drug acoramidis for a rare heart disorder.
Read More
MHRA logo

UK’s MHRA relaxes restrictions on use of paclitaxel devices in PAD

Feb. 5, 2024
The controversy over the use of paclitaxel (PTX) in devices used to treat peripheral artery disease (PAD) has taken roughly half a decade to unwind as regulatory agencies across the globe stand down their restrictions on the use of these devices.
Read More
Philips X11-4t mini-transducer

FDA greenlights Philips’ new TEE ultrasound transducer

Feb. 2, 2024
By Shani Alexander
Royal Philips NV recently received some good news from the U.S. FDA which cleared its latest transesophageal echocardiography (TEE) ultrasound transducer, amidst ongoing efforts with the regulatory body to address problems with its sleep business. The X11-4t Mini 3D TEE transducer is 35% smaller than previous versions and is designed to provide cardiologists with high quality 3D images of the heart and its internal structure.
Read More
Edwards EVOQUE

Edwards pumped about Evoque US tricuspid valve replacement approval

Feb. 2, 2024
By Holland Johnson
Edwards Lifesciences Corp. received some good news with the earlier-than-expected U.S. FDA approval of its Evoque tricuspid valve replacement system. The company beat out rival Abbott Laboratories for the honor of being the first transcatheter therapy to receive FDA approval.
Read More
Digital cardiology illustration
Cardiovascular

Windtree renews partnership with Chang Gung University to advance SERCA2a research for cardiovascular disease

Feb. 2, 2024
Windtree Therapeutics Inc. has renewed its partnership with Chang Gung University to further research on SERCA2a, an important target for the company’s cardiovascular portfolio.
Read More
Heart and lungs
Cardiovascular

MCJ protein at the heart of new options to manage pulmonary hypertension

Feb. 1, 2024
By Coia Dulsat
Researchers at the Spanish National Center for Cardiovascular Research (CNIC) have identified a new target that may open new avenues into pulmonary hypertension (PH) treatment. Their findings were published in Science Advances on Jan. 19, 2024.
Read More
FARAPULSE pulsed field ablation system

Boston Sci’s Farapulse approval intensifies PFA competition

Jan. 31, 2024
By Annette Boyle
The U.S. FDA added a second pulsed field ablation (PFA) system to the approved list with its greenlight for Boston Scientific Corp.’s Farapulse for treatment of atrial fibrillation (AF). Farapulse joins Medtronic plc’s Pulseselect, which garnered FDA approval in December. Two other PFA devices scored regulatory wins since the new year: Biosense Webster inc.’s Varipulse secured approval from the Japanese Ministry of Health Labor and Welfare and Sichaun Jinjiang Electronic Medical Device Technology Co. Ltd. got the nod from China’s National Medical Products Administration.
Read More
Neurology/Psychiatric

Kv2.1 inhibitor with promising anticerebral ischemia activity in rats

Jan. 31, 2024
Researchers from Institute of Materia Medica Chinese Academy of Medical Sciences & Peking Union Medical College have discovered novel selective Kv2.1 inhibitors as potential therapeutic candidates for the treatment of ischemic stroke.
Read More
Previous 1 2 … 76 77 78 79 80 81 82 83 84 … 990 991 Next

Popular Stories

  • Today's news in brief

    BioWorld
    BioWorld briefs for Dec. 23, 2025.
  • Today's news in brief

    BioWorld MedTech
    BioWorld MedTech briefs for Dec. 23, 2025.
  • Left: Anthony Fauci. Right: Transmission electron micrograph of HIV-1 virus particles

    HIV research is close to a cure but far from ending the pandemic

    BioWorld
    Advances in antiretroviral therapy (ART) now allow people living with HIV to lead normal lives with undetectable and nontransmissible levels of the virus in their...
  • Illustration of magnifying glass looking at cancer in the brain

    Researchers discover how glioblastoma tumors dodge chemotherapy

    BioWorld MedTech
    Researchers at the University of Sydney have uncovered a mechanism that may explain why glioblastoma returns after treatment, and the world-first discovery offers...
  • Illustration of brain with electrical activity background

    ABS-1230 controls seizures in KCNT1-driven severe epilepsy

    BioWorld Science
    Mutations in the KCNT1 gene produce gain-of-function effects that lead to overactivation of the potassium channel and consequent disruption of normal neuronal...
  • BioWorld
    • Today's news
    • Analysis and data insight
    • Clinical
    • Data Snapshots
    • Deals and M&A
    • Financings
    • Newco news
    • Opinion
    • Regulatory
    • Science
  • BioWorld MedTech
    • Today's news
    • Clinical
    • Data Snapshots
    • Deals and M&A
    • Financings
    • Newco news
    • Opinion
    • Regulatory
    • Science
  • BioWorld Asia
    • Today's news
    • Analysis and data insight
    • Australia
    • China
    • Clinical
    • Deals and M&A
    • Financings
    • Newco news
    • Regulatory
    • Science
  • BioWorld Science
    • Today's news
    • Biomarkers
    • Cancer
    • Conferences
    • Endocrine/Metabolic
    • Immune
    • Infection
    • Neurology/Psychiatric
    • NME Digest
    • Patents
  • More
    • About
    • Advertise with BioWorld
    • Archives
    • Article reprints and permissions
    • Contact us
    • Cookie policy
    • Copyright notice
    • Data methodology
    • Infographics: Dynamic digital data analysis
    • Index insights
    • Podcasts
    • Privacy policy
    • Share your news with BioWorld
    • Staff
    • Terms of use
    • Topic alerts
Follow Us

Copyright ©2025. All Rights Reserved. Design, CMS, Hosting & Web Development :: ePublishing