BioWorld. Link to homepage.

Clarivate
  • BioWorld
  • BioWorld MedTech
  • BioWorld Asia
  • BioWorld Science
  • Data Snapshots
    • BioWorld
    • BioWorld MedTech
    • Infographics: Dynamic digital data analysis
    • Index insights
    • NME Digest
  • Special reports
    • Infographics: Dynamic digital data analysis
    • Trump administration impacts
    • Under threat: mRNA vaccine research
    • BioWorld at 35
    • Biopharma M&A scorecard
    • BioWorld 2024 review
    • BioWorld MedTech 2024 review
    • BioWorld Science 2024 review
    • Women's health
    • China's GLP-1 landscape
    • PFA re-energizes afib market
    • China CAR T
    • Alzheimer's disease
    • Coronavirus
    • More reports can be found here

BioWorld. Link to homepage.

  • Sign In
  • Sign Out
  • My Account
Subscribe
BioWorld - Thursday, December 18, 2025
Home » Topics » Disease categories and therapies » Oncology

Oncology
Oncology RSS Feed RSS

Gloved hands holding a heart

Caredx Heartcare quickly IDs organ rejection, improves outcomes

May 17, 2024
By Annette Boyle
The Surveillance Heartcare Outcomes Registry trial demonstrated that Caredx Inc.’s Heartcare test identifies acute cellular rejection in heart transplant patients better than donor-derived cell-free DNA (dd-cfDNA) alone, while reducing biopsies and improving clinical outcomes. Heartcare combines two non-invasive tests, dd-cfDNA and Allomap Heart gene-expression profiling.
Read More
Pill in immersive interface

Bio Korea 2024: AI teeters toward ‘necessity’ in new drug R&D

May 14, 2024
By Marian (YoonJee) Chu
As the average cost of new drug R&D continues to skyrocket, the perception around using artificial intelligence (AI) as a tool to boost drug discovery is changing. “Developing new AI-based drugs is a difficult task, not only for Korea but also for countries with leading AI technology,” Hyeyun Jung, principal researcher of Korea Health Industry Development Institute’s Center for Health Industry Policy, told the audience at the Bio Korea meeting on May 9. “But there is a change in perception; [namely that] applying AI to new drug development is not an option but a necessity.”
Read More
3D illustration showing presence of tumor inside prostate gland

Profound snags FDA clearance for prostate disease contouring module

May 14, 2024
By Annette Boyle
Profound Medical Corp. received U.S. FDA 510(k) clearance for its second transurethral ultrasound ablation (TULSA) module using artificial intelligence. When used with Profound’s TULSA-Pro system, the Contouring assistant helps physicians more quickly and accurately segment prostate imaging and design treatments.
Read More
GI Genius Module

Medtronic teams up with Modmed for more efficient colonoscopies

May 10, 2024
By Shani Alexander
Medtronic plc teamed up with healthtech software company Modernizing Medicine Inc. (ModMed) to make colonoscopy procedures more efficient by integrating data generated from Medtronic’s GI Genius system into ModMed's gGastro EHR software to enhance endoscopic care.
Read More
Pill in immersive interface

Bio Korea 2024: AI teeters toward ‘necessity’ in new drug R&D

May 9, 2024
By Marian (YoonJee) Chu
As the average cost of new drug R&D continues to skyrocket, the perception around using artificial intelligence (AI) as a tool to boost drug discovery is changing. “Developing new AI-based drugs is a difficult task, not only for Korea but also for countries with leading AI technology,” Hyeyun Jung, principal researcher of Korea Health Industry Development Institute’s Center for Health Industry Policy, told the audience at the Bio Korea meeting on May 9. “But there is a change in perception; [namely that] applying AI to new drug development is not an option but a necessity.”
Read More
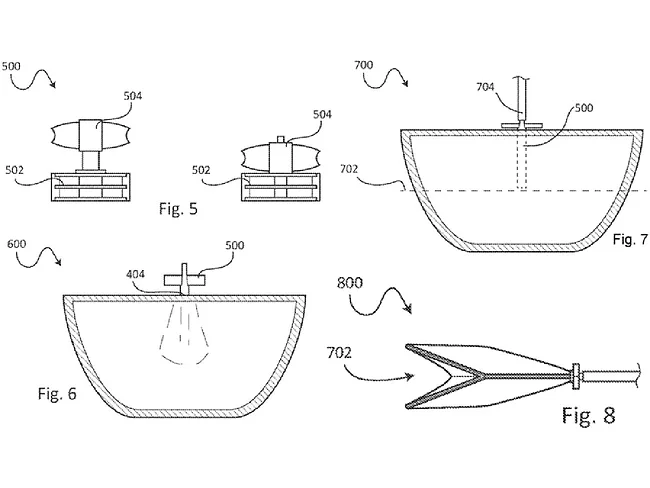
Cranius
Patents

Cranius reveals drug reservoir design for brain drug delivery device

May 9, 2024
By Simon Kerton
The latest patent filing from Cranius LLC describes a reservoir for its implanted drug delivery devices which is shaped and formed to empty and fill reliably without any concern for neighboring organ impingement or compression, and which can precisely control and monitor exactly just how much of a medicine is being delivered.
Read More
Gavel and FTC logo

Metaltronica prods FDA over risk classification for tomosynthesis

May 8, 2024
By Mark McCarty
It’s no surprise to hear that industry’s view of a device’s inherent risk differs from that of the U.S. FDA, a disparity that came to surface in a new citizen petition from Metaltronica SpA of Pomezia, Italy. The company petitioned the agency to down-classify digital breast tomosynthesis system to class II, a move that would align the risk classification with full-field digital mammography and ease the premarket path for future digital breast tomosynthesis applications.
Read More
Colon cancer illustration

FDA greenlights Geneoscopy’s Colosense colorectal cancer screening test

May 8, 2024
By Annette Boyle
This time a positive result for a cancer screening test brought good news, as Geneoscopy Inc. secured U.S. FDA approval for its RNA screening test for colorectal cancer. The agency based its decision on strong results from the phase III CRC-PREVENT trial in its approval of the noninvasive test for use in individuals aged 45 years and older with average risk for the disease.
Read More
Flag of Australia, sky background

Australia poised to harness the power of radiopharmaceuticals

May 7, 2024
By Tamra Sami
Australia is poised to play a leading role in the rise of the global radiopharmaceutical industry, as advanced therapies drive significant investment and rapid expansion, according to a new discussion paper from industry accelerator Mtpconnect.
Read More
Angle Parsortix system

Angle’s technology helping big pharma tackle cancer, cost

May 7, 2024
By Shani Alexander
Angle plc recently signed an agreement with Astrazeneca plc to develop an androgen receptor (AR) detection assay for use in prostate cancer studies, based on its Parsortix system, which captures and harvest circulating tumor cells for subsequent analysis.
Read More
Previous 1 2 … 15 16 17 18 19 20 21 22 23 … 44 45 Next

Popular Stories

  • Today's news in brief

    BioWorld
    BioWorld briefs for Dec. 17, 2025.
  • Today's news in brief

    BioWorld MedTech
    BioWorld MedTech briefs for Dec. 17, 2025.
  • Left: Anthony Fauci. Right: Transmission electron micrograph of HIV-1 virus particles

    HIV research is close to a cure but far from ending the pandemic

    BioWorld
    Advances in antiretroviral therapy (ART) now allow people living with HIV to lead normal lives with undetectable and nontransmissible levels of the virus in their...
  • EU flag vector

    European Commission floats multiple fixes for MDR, IVDR

    BioWorld MedTech
    The European Union’s struggles with regulations for devices and in vitro diagnostics seem virtually endless, but the European Commission floated a series of...
  • ATNM-400 radioconjugate shows efficacy in resistant breast cancer

    BioWorld Science
    Although hormone receptor-positive (HR+) breast cancer accounts for over 70% of cases, 20%-30% of patients still experience relapse despite endocrine therapies...
  • BioWorld
    • Today's news
    • Analysis and data insight
    • Clinical
    • Data Snapshots
    • Deals and M&A
    • Financings
    • Newco news
    • Opinion
    • Regulatory
    • Science
  • BioWorld MedTech
    • Today's news
    • Clinical
    • Data Snapshots
    • Deals and M&A
    • Financings
    • Newco news
    • Opinion
    • Regulatory
    • Science
  • BioWorld Asia
    • Today's news
    • Analysis and data insight
    • Australia
    • China
    • Clinical
    • Deals and M&A
    • Financings
    • Newco news
    • Regulatory
    • Science
  • BioWorld Science
    • Today's news
    • Biomarkers
    • Cancer
    • Conferences
    • Endocrine/Metabolic
    • Immune
    • Infection
    • Neurology/Psychiatric
    • NME Digest
    • Patents
  • More
    • About
    • Advertise with BioWorld
    • Archives
    • Article reprints and permissions
    • Contact us
    • Cookie policy
    • Copyright notice
    • Data methodology
    • Infographics: Dynamic digital data analysis
    • Index insights
    • Podcasts
    • Privacy policy
    • Share your news with BioWorld
    • Staff
    • Terms of use
    • Topic alerts
Follow Us

Copyright ©2025. All Rights Reserved. Design, CMS, Hosting & Web Development :: ePublishing