BioWorld. Link to homepage.

Clarivate
  • BioWorld
  • BioWorld MedTech
  • BioWorld Asia
  • BioWorld Science
  • Data Snapshots
    • BioWorld
    • BioWorld MedTech
    • Infographics: Dynamic digital data analysis
    • Index insights
    • NME Digest
  • Special reports
    • Infographics: Dynamic digital data analysis
    • Trump administration impacts
    • Under threat: mRNA vaccine research
    • BioWorld at 35
    • Biopharma M&A scorecard
    • Bioworld 2025 review
    • BioWorld MedTech 2025 review
    • BioWorld Science 2025 review
    • Women's health
    • China's GLP-1 landscape
    • PFA re-energizes afib market
    • China CAR T
    • Alzheimer's disease
    • Coronavirus
    • More reports can be found here

BioWorld. Link to homepage.

  • Sign In
  • Sign Out
  • My Account
Subscribe
BioWorld - Saturday, December 27, 2025
Home » Newsletters » BioWorld MedTech

BioWorld MedTech

June 19, 2024

View Archived Issues
Adult Endeavor

Akili’s Endeavor FDA cleared for OTC use in adults with ADHD

After a rocky year, Akili Inc. received U.S. FDA clearance for use of its non-prescription product, Endeavorotc, for treatment of adults with attention deficit/hyperactivity disorder (ADHD). Endeavorotc employs a video game format to improve attention in individuals with inattentive or combined-type ADHD. Read More
Boston Scientific Vercise Genus system-

Parkinson’s DBS treatment vastly underutilized in the UK

As new treatment options are being continually investigated and trialed against Parkinson’s disease, the possibilities offered by deep brain stimulation (DBS) risk being overlooked. Though not a cure, the therapy could vastly improve the quality of life for patients with the disease. Read More
Inosys 3d-print spine implant

Inosys Korea gains FDA nod for 3D-printed cervical spine cage

Inosys Korea Co. Ltd. gained U.S. FDA 510(k) clearance for Unispace, a cervical spine cage manufactured with 3D printing technology. Unispace can be used during spinal fusion surgery, Busan-based Inosys said, wherein operators can remove a patient’s diseased or damaged disc and replace it with the cervical cage to maintain the original length of the spine. Read More
Ykrita ectopic liver device

Ykrita enhances IP for its artificial ectopic liver device

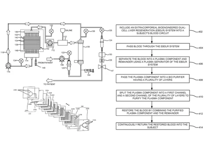
In just its second PCT filing, Ykrita Lifesciences Private Ltd. (YLS) continues to assemble intellectual property for its development of an extracorporeal bioengineered dual-cell liver regeneration (EBDLR) system which serves as a lightweight, portable, ectopic liver device to aid in the rejuvenation of the body’s own liver and treat acute liver failure without the need for surgery. Read More

Appointments and advancements for June 19, 2024

New hires and promotions in the med-tech industry, including: Danaher. Read More

Financings for June 19, 2024

Med-tech firms raising money in public or private financings, including: Fluoguide. Read More

Other news to note for June 19, 2024

Med-tech happenings, including deals and partnerships, grants, preclinical data and other news in brief: Lucidhealth, Nutex Health, Rad AI. Read More

Regulatory actions for June 19, 2024

Regulatory snapshots, including global submissions and approvals, clinical trial approvals and other regulatory decisions and designations: Akili, Milestone Scientific. Read More

Popular Stories

  • Today's news in brief

    BioWorld
    BioWorld briefs for Dec. 24, 2025.
  • Today's news in brief

    BioWorld MedTech
    BioWorld MedTech briefs for Dec. 24, 2025.
  • Illustration of magnifying glass looking at cancer in the brain

    Researchers discover how glioblastoma tumors dodge chemotherapy

    BioWorld MedTech
    Researchers at the University of Sydney have uncovered a mechanism that may explain why glioblastoma returns after treatment, and the world-first discovery offers...
  • Left: Anthony Fauci. Right: Transmission electron micrograph of HIV-1 virus particles

    HIV research is close to a cure but far from ending the pandemic

    BioWorld
    Advances in antiretroviral therapy (ART) now allow people living with HIV to lead normal lives with undetectable and nontransmissible levels of the virus in their...
  • Illustration of tau accumulating in a neuron cell.

    ADEL wins $1.04B Sanofi deal for tau-targeting Alzheimer’s drug

    BioWorld
    ADEL Inc. closed a year-end licensing deal worth up to $1.04 billion with Sanofi SA for ADEL-Y01, a specific tau-targeting Alzheimer’s disease drug candidate in a...
  • BioWorld
    • Today's news
    • Analysis and data insight
    • Clinical
    • Data Snapshots
    • Deals and M&A
    • Financings
    • Newco news
    • Opinion
    • Regulatory
    • Science
  • BioWorld MedTech
    • Today's news
    • Clinical
    • Data Snapshots
    • Deals and M&A
    • Financings
    • Newco news
    • Opinion
    • Regulatory
    • Science
  • BioWorld Asia
    • Today's news
    • Analysis and data insight
    • Australia
    • China
    • Clinical
    • Deals and M&A
    • Financings
    • Newco news
    • Regulatory
    • Science
  • BioWorld Science
    • Today's news
    • Biomarkers
    • Cancer
    • Conferences
    • Endocrine/Metabolic
    • Immune
    • Infection
    • Neurology/Psychiatric
    • NME Digest
    • Patents
  • More
    • About
    • Advertise with BioWorld
    • Archives
    • Article reprints and permissions
    • Contact us
    • Cookie policy
    • Copyright notice
    • Data methodology
    • Infographics: Dynamic digital data analysis
    • Index insights
    • Podcasts
    • Privacy policy
    • Share your news with BioWorld
    • Staff
    • Terms of use
    • Topic alerts
Follow Us

Copyright ©2025. All Rights Reserved. Design, CMS, Hosting & Web Development :: ePublishing