BioWorld. Link to homepage.

Clarivate
  • BioWorld
  • BioWorld MedTech
  • BioWorld Asia
  • BioWorld Science
  • Data Snapshots
    • BioWorld
    • BioWorld MedTech
    • Infographics: Dynamic digital data analysis
    • Index insights
    • NME Digest
  • Special reports
    • Infographics: Dynamic digital data analysis
    • Trump administration impacts
    • Under threat: mRNA vaccine research
    • BioWorld at 35
    • Biopharma M&A scorecard
    • BioWorld 2024 review
    • BioWorld MedTech 2024 review
    • BioWorld Science 2024 review
    • Women's health
    • China's GLP-1 landscape
    • PFA re-energizes afib market
    • China CAR T
    • Alzheimer's disease
    • Coronavirus
    • More reports can be found here

BioWorld. Link to homepage.

  • Sign In
  • Sign Out
  • My Account
Subscribe
BioWorld - Wednesday, December 17, 2025
Home » Topics » Diagnostics » Imaging

Imaging
Imaging RSS Feed RSS

belle ai skin
Patents

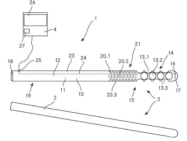
Belle.ai patents AI platform for evaluating, tracking skin conditions

May 29, 2024
By Simon Kerton
A little over two months after the granting of its very first patent which described computer-based systems for diagnosing psoriasis, Belletorus Corp. welcomed the publication of two continuation-in-part child filings on similar such systems for the diagnosis of eczema and determining the severity of skin diseases such as psoriasis, eczema and skin cancer.
Read More
Lunit CEO Brandon Suh

Lunit completes $193M acquisition of Volpara

May 24, 2024
By Marian (YoonJee) Chu
“In an impressive eight-month timeline,” South Korea’s Lunit Inc. completed the $193 million (AU$292 million) acquisition of Volpara Health Technologies Ltd. to globally advance artificial intelligence (AI)-based cancer care.
Read More
Avvigo+
​EuroPCR 2024​

Boston Scientific hoping to change EU guidelines for use of IVUS during PCI

May 23, 2024
By Shani Alexander
Boston Scientific Corp. is hoping to help change European guidelines on the use of intravascular imaging during percutaneous coronary intervention procedures, Emile Mehanna, medical affairs and medical education director, interventional cardiology, EMEA, told BioWorld.
Read More
Arcscan

China approves Arcscan’s ultrasound imaging device for myopia

May 17, 2024
By Marian (YoonJee) Chu
Denver-based Arcscan Inc. gained Chinese approval of its computer-controlled, ultra-high frequency ultrasound diagnostic imaging solution for myopia called Insight 100, expanding its reach beyond the U.S. and Europe.
Read More
GI Genius Module

Medtronic teams up with Modmed for more efficient colonoscopies

May 10, 2024
By Shani Alexander
Medtronic plc teamed up with healthtech software company Modernizing Medicine Inc. (ModMed) to make colonoscopy procedures more efficient by integrating data generated from Medtronic’s GI Genius system into ModMed's gGastro EHR software to enhance endoscopic care.
Read More
Ribbons of digital data
Newco News

Enlitic‘s AI tools help drain the imaging quagmire

May 10, 2024
By Tamra Sami
Imaging is the number one way physicians track cancer progression and burdens within neurology and cardiology, but the ability to take imaging information and interact with it to make better decisions is becoming ever more complicated.
Read More
Rhovica Neuroimaging
Patents

Rhovica Neuroimaging's external ventricular catheter drainage system

May 10, 2024
By Simon Kerton
In what represents its first patenting, Rhovica Neuroimaging AG seeks protection for an external ventricular drainage catheter for the drainage of cerebrospinal fluid to reduce intracranial pressure. The catheter is integrated with sensors which enable safe, fast and cost-efficient catheter placement and monitoring of brain ventricles.
Read More
Flag of Australia, sky background

Australia poised to harness the power of radiopharmaceuticals

May 7, 2024
By Tamra Sami
Australia is poised to play a leading role in the rise of the global radiopharmaceutical industry, as advanced therapies drive significant investment and rapid expansion, according to a new discussion paper from industry accelerator Mtpconnect.
Read More
Flag of Australia, sky background

Australia poised to harness the power of radiopharmaceuticals

May 3, 2024
By Tamra Sami
Australia is poised to play a leading role in the rise of the global radiopharmaceutical industry, as advanced therapies drive significant investment and rapid expansion, according to a new discussion paper from industry accelerator Mtpconnect.
Read More
Hyperfine Research - swoop

Hyperfine Swoops into Alzheimer’s care

April 25, 2024
By Annette Boyle
Hyperfine Inc. aims to simplify monitoring of potentially dangerous adverse events associated with amyloid-targeting therapies with the launch of its Capturing ARIA Risk Equitably with Portable MR observational study. The study will evaluate the benefits of the Swoop portable brain MRI system in acquiring images needed to detect amyloid-related imaging abnormalities in Alzheimer’s patients as specified in product labeling.
Read More
Previous 1 2 3 4 5 6 7 8 9 10 11 … 31 32 Next

Popular Stories

  • Today's news in brief

    BioWorld
    BioWorld briefs for Dec. 16, 2025.
  • Today's news in brief

    BioWorld MedTech
    BioWorld MedTech briefs for Dec. 16, 2025.
  • Novo Nordisk semaglutide pill

    CTAD 2025: Diagnosing semaglutide’s failure in Alzheimer’s trials

    BioWorld
    A little over a week after announcing that the Evoke and Evoke+ studies failed to show that oral semaglutide could slow cognition decline in patients with...
  • Kim Woo-youn, CEO and cofounder, Hits

    Hits’ Hyperlab launches as ‘virtual AI lab’ for new drug discovery

    BioWorld Science
    Things once done in laboratories can now be done with computers and AI, said Kim Woo-youn, CEO and cofounder of Hits Inc. “We live in the age of ‘digital...
  • Illustration of tau accumulating in a neuron cell.

    ADEL wins $1.04B Sanofi deal for tau-targeting Alzheimer’s drug

    BioWorld
    ADEL Inc. closed a year-end licensing deal worth up to $1.04 billion with Sanofi SA for ADEL-Y01, a specific tau-targeting Alzheimer’s disease drug candidate in a...
  • BioWorld
    • Today's news
    • Analysis and data insight
    • Clinical
    • Data Snapshots
    • Deals and M&A
    • Financings
    • Newco news
    • Opinion
    • Regulatory
    • Science
  • BioWorld MedTech
    • Today's news
    • Clinical
    • Data Snapshots
    • Deals and M&A
    • Financings
    • Newco news
    • Opinion
    • Regulatory
    • Science
  • BioWorld Asia
    • Today's news
    • Analysis and data insight
    • Australia
    • China
    • Clinical
    • Deals and M&A
    • Financings
    • Newco news
    • Regulatory
    • Science
  • BioWorld Science
    • Today's news
    • Biomarkers
    • Cancer
    • Conferences
    • Endocrine/Metabolic
    • Immune
    • Infection
    • Neurology/Psychiatric
    • NME Digest
    • Patents
  • More
    • About
    • Advertise with BioWorld
    • Archives
    • Article reprints and permissions
    • Contact us
    • Cookie policy
    • Copyright notice
    • Data methodology
    • Infographics: Dynamic digital data analysis
    • Index insights
    • Podcasts
    • Privacy policy
    • Share your news with BioWorld
    • Staff
    • Terms of use
    • Topic alerts
Follow Us

Copyright ©2025. All Rights Reserved. Design, CMS, Hosting & Web Development :: ePublishing