BioWorld. Link to homepage.

Clarivate
  • BioWorld
  • BioWorld MedTech
  • BioWorld Asia
  • BioWorld Science
  • Data Snapshots
    • BioWorld
    • BioWorld MedTech
    • Infographics: Dynamic digital data analysis
    • Index insights
    • NME Digest
  • Special reports
    • Infographics: Dynamic digital data analysis
    • Trump administration impacts
    • Under threat: mRNA vaccine research
    • BioWorld at 35
    • Biopharma M&A scorecard
    • BioWorld 2024 review
    • BioWorld MedTech 2024 review
    • BioWorld Science 2024 review
    • Women's health
    • China's GLP-1 landscape
    • PFA re-energizes afib market
    • China CAR T
    • Alzheimer's disease
    • Coronavirus
    • More reports can be found here

BioWorld. Link to homepage.

  • Sign In
  • Sign Out
  • My Account
Subscribe
BioWorld - Saturday, December 20, 2025
Home » Topics » Medical devices and technologies » Diagnostics

Diagnostics
Diagnostics RSS Feed RSS

Laptop displaying FDA logo
MDMA Annual Meeting

FDA’s Shuren calls for an end to the debate over LDT accuracy

April 18, 2024
By Mark McCarty
While the U.S. FDA’s final rule for regulation of lab-developed tests (LDTs) has yet to emerge, there is some reason to expect the rule will be met with litigation from clinical lab associations. The FDA’s Jeff Shuren said in remarks to this year’s meeting of the Medical Device Manufacturers Association that there is a legitimate problem with the accuracy of many LDTs, adding that while stakeholders are at liberty to question the FDA’s rulemaking, the agency’s experience in this area indicates that the question of LDT reliability is not up for debate.
Read More
Bone marrow illustration with doctor background

Scopio wins FDA clearance for bone marrow aspirate application

April 18, 2024
By Shani Alexander
The U.S. FDA granted Scopio Labs Ltd. de novo clearance for its artificial intelligence (AI)-powered software which analyzes bone marrow. Scopio’s Full-Field Bone Marrow Aspirate (FF-BMA) system aims to improve patient care by standardizing bone marrow aspirate analysis and elevating diagnostic precision.
Read More
Alva Health
Patents

Alva Health issued patent for wearable stroke prediction system

April 17, 2024
By Simon Kerton
In what represents its first patenting, Alva Health Inc. has been granted protection for a method for detecting stroke from falls using a combination of wearable motion sensors and artificial intelligence.
Read More
Neurons with dendrites affected by amyloid plaques in Alzheimer's disease

Roche, Eli Lilly Alzheimer's blood test granted breakthrough device designation

April 15, 2024
By Shani Alexander
The U.S. FDA granted Roche Holding AG breakthrough device designation for the Elecsys pTau217 assay that it is developing with Eli Lilly and Co. The test will help with the earlier diagnosis of Alzheimer's disease as it will be able to identify pTau217, a phosphorylated fragment of the protein tau, which is a biomarker that can distinguish the disease from other neurodegenerative disorders.
Read More
Blood cells and bacteria

Sepsis: FDA greenlights Prenosis rapid test, Bosch/Randox aim for another

April 12, 2024
By Annette Boyle
Prenosis Inc. gained U.S. FDA de novo marketing authorization for an artificial intelligence-powered rapid diagnostic tool for sepsis, one of the most challenging and deadly conditions in hospitals and reported a distribution agreement with Roche Holding AG. Another pairing also made progress in developing a sepsis in vitro diagnostic this week, as Bosch Healthcare Solutions GmbH and Randox Laboratories Inc. joined forces and committed €150 million (US$159.63 million) to the effort.
Read More
Health professional touching screen, digital/medical icons
AACR 2024

Seekin, Exact liquid biopsies advance early cancer detection

April 10, 2024
By Annette Boyle
Exact Sciences Corp., Seekin Inc. and Serum Detect Inc. presented encouraging results for the field of multicancer early detection at the American Association for Cancer Research annual meeting in San Diego April 6-10, but delays in coverage may slow further progress.
Read More
SpeeDx Diagnostics

Speedx launches qPCR panel to detect 14 different viruses

April 10, 2024
By Tamra Sami
Australia’s Speedx Pty Ltd. is launching a new rapid polymerase chain reaction (qPCR) test for 14 different respiratory viruses in a single test that works on almost every commercial PCR platform in half the time and at a fraction of the cost of what its competitors charge.
Read More
Illustration of head with maze that is missing parts
Neurology/Psychiatric

Better drugs for neurodegeneration will take more research, better biomarkers

April 5, 2024
By Anette Breindl
At a recent meeting on “Research priorities for preventing and treating Alzheimer’s disease and related dementias” (ADRD), convened by the National Academies, one consensus priority on ADRD research was that there needs to be more of it at every stage. Several speakers presented stark numbers on the relative volume of research in cancer and neurodegeneration. Research output, measured in peer-reviewed papers, for dementia is estimated to be around 10,000 papers annually, compared to 150,000 for cancer, while AD clinical trials are also few and far between compared to cancer trials. This final installment of BioWorld’s series on Alzheimer’s explores some of the reasons for this discrepancy along with the latest advances and ongoing efforts to accelerate research and drug development in the field.
Read More
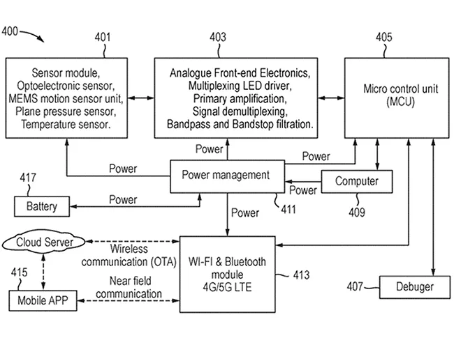
Carelight opto-physiological monitoring

Carelight describes wearable smart sensors for physiological monitoring

April 4, 2024
By Simon Kerton
Carelight Ltd. reported seeking protection for a wearable real time opto-physiological monitoring system for monitoring heart rate, respiration rate, oxygen saturation, blood pressure, heart rate variability, pulse wave velocity, and body temperature.
Read More

Beckman Coulter, Agena hit with recent FDA warnings

April 4, 2024
By Mark McCarty
The U.S. FDA posted two device warning letters in the first week of April 2024, including one each to Beckman Coulter Inc., of Brea, Calif., and Agena Bioscience Inc. of San Diego, the former of which was directed toward the Chaska, Minn., facility that manufactures the Beckman Coulter Dxl 9000 analyzer.
Read More
Previous 1 2 … 32 33 34 35 36 37 38 39 40 … 510 511 Next

Popular Stories

  • Today's news in brief

    BioWorld
    BioWorld briefs for Dec. 19, 2025.
  • Today's news in brief

    BioWorld MedTech
    BioWorld MedTech briefs for Dec. 19, 2025.
  • Left: Anthony Fauci. Right: Transmission electron micrograph of HIV-1 virus particles

    HIV research is close to a cure but far from ending the pandemic

    BioWorld
    Advances in antiretroviral therapy (ART) now allow people living with HIV to lead normal lives with undetectable and nontransmissible levels of the virus in their...
  • Acute myeloid leukemia illustration

    Apollo’s APL-4098 shows potent antileukemic effects

    BioWorld Science
    Apollo Therapeutics Ltd. has developed APL-4098, a small-molecule general control nonderepressible 2 (GCN2) inhibitor for the potential treatment of AML.
  • Illustration of brain with electrical activity background

    ABS-1230 controls seizures in KCNT1-driven severe epilepsy

    BioWorld Science
    Mutations in the KCNT1 gene produce gain-of-function effects that lead to overactivation of the potassium channel and consequent disruption of normal neuronal...
  • BioWorld
    • Today's news
    • Analysis and data insight
    • Clinical
    • Data Snapshots
    • Deals and M&A
    • Financings
    • Newco news
    • Opinion
    • Regulatory
    • Science
  • BioWorld MedTech
    • Today's news
    • Clinical
    • Data Snapshots
    • Deals and M&A
    • Financings
    • Newco news
    • Opinion
    • Regulatory
    • Science
  • BioWorld Asia
    • Today's news
    • Analysis and data insight
    • Australia
    • China
    • Clinical
    • Deals and M&A
    • Financings
    • Newco news
    • Regulatory
    • Science
  • BioWorld Science
    • Today's news
    • Biomarkers
    • Cancer
    • Conferences
    • Endocrine/Metabolic
    • Immune
    • Infection
    • Neurology/Psychiatric
    • NME Digest
    • Patents
  • More
    • About
    • Advertise with BioWorld
    • Archives
    • Article reprints and permissions
    • Contact us
    • Cookie policy
    • Copyright notice
    • Data methodology
    • Infographics: Dynamic digital data analysis
    • Index insights
    • Podcasts
    • Privacy policy
    • Share your news with BioWorld
    • Staff
    • Terms of use
    • Topic alerts
Follow Us

Copyright ©2025. All Rights Reserved. Design, CMS, Hosting & Web Development :: ePublishing