BioWorld. Link to homepage.

Clarivate
  • BioWorld
  • BioWorld MedTech
  • BioWorld Asia
  • BioWorld Science
  • Data Snapshots
    • BioWorld
    • BioWorld MedTech
    • Infographics: Dynamic digital data analysis
    • Index insights
    • NME Digest
  • Special reports
    • Infographics: Dynamic digital data analysis
    • Trump administration impacts
    • Under threat: mRNA vaccine research
    • BioWorld at 35
    • Biopharma M&A scorecard
    • Bioworld 2025 review
    • BioWorld MedTech 2025 review
    • BioWorld Science 2025 review
    • Women's health
    • China's GLP-1 landscape
    • PFA re-energizes afib market
    • China CAR T
    • Alzheimer's disease
    • Coronavirus
    • More reports can be found here

BioWorld. Link to homepage.

  • Sign In
  • Sign Out
  • My Account
Subscribe
BioWorld - Tuesday, December 23, 2025
Home » Authors » Simon Kerton

Articles by Simon Kerton

lyndra lynx
Patents

Lyndra extends shelf life of its Lynx oral drug delivery platform

March 11, 2024
By Simon Kerton
Watertown, Mass.-based Lyndra Therapeutics Inc. is seeking patent protection for gastric residence drug delivery systems with improved shelf lives through their inclusion of a metal core.
Read More
starpax magnetodrone
Patents

Starpax continues to build IP for its Magnetodrones platform

March 8, 2024
By Simon Kerton
Starpax Biopharma Inc. files for further protection of its anticancer technology that uses magnetically steered bacteria to spread chemotherapy drugs throughout the volume of tumors. Its latest filing describes a method for preparing a subject for a medical intervention with magnetotactic bacteria tethered to treatment, imaging or diagnostic agents.
Read More
neurostasis neurostimulator
Patents

Neurastasis' non-invasive neurostimulator to improve stroke outcome

March 7, 2024
By Simon Kerton
In what represents the first patenting in the name of Houston-based Neurastasis Inc., company co-founders Kirt Gill and Joe Upchurch describe a head-worn apparatus for neural stimulation that can be used to treat or augment recovery from medical conditions, particularly ischemic stroke.
Read More
AMI diagnostic
Patents

Researchers use AI for diagnosis of acute myocardial infarction

March 6, 2024
By Simon Kerton
Researchers from the University of Edinburgh seek protection for an algorithm developed using artificial intelligence that could be used by doctors to diagnose heart attacks more quickly and effectively.
Read More
varicose treatment
Patents

New minimally invasive treatment for varicose veins

March 5, 2024
By Simon Kerton
Ali Golshan, a practicing interventional radiologist, has been granted protection for a minimally invasive treatment for varicose veins.
Read More
Shiratronics neurostimulation device
Patents

Shiratronics reduces risk for antimigraine neurostimulator implant

March 4, 2024
By Simon Kerton
Shiratronics Inc. seeks patent protection for a rechargeable subcutaneous neurostimulator implant and a method for managing heat during recharge of its battery from an external device and headset.
Read More
novaxs drug delivery
Patents

Novaxs provides details on its needle-free drug delivery platform

March 1, 2024
By Simon Kerton
In the first patenting from Chicago-based Novaxs Biotech Corp., its co-founders, Alina Rui Su and Jonathan Tianyi Xing, describe an injection system for needle-free, high-pressure drug delivery.
Read More
intrigue health
Patents

Intrigue Health reveals its POC device for at-home testing

Feb. 27, 2024
By Simon Kerton
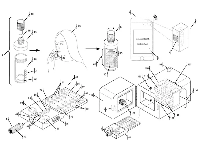
In what represents its first patenting, San Diego-based Intrigue Health Inc. seeks protection for a diagnostic kit that its inventors say will bring clinical laboratory quality testing directly into the home and to non-health care facilities. They say their invention will enable consumers to move from symptom to treatment in hours from the convenience of where they are, which will lead to better health outcomes and much happier consumers.
Read More
intrigue health at-home diagnostic
Patents

Intrigue Health reveals its POC device for at-home testing

Feb. 23, 2024
By Simon Kerton
In what represents its first patenting, San Diego-based Intrigue Health Inc. seeks protection for a diagnostic kit that its inventors say will bring clinical laboratory quality testing directly into the home and to non-healthcare facilities.
Read More
Bambi Belt
Patents

Bambi Belt develops defibrillator-proof neonate vital sign monitoring belt

Feb. 21, 2024
By Simon Kerton
Through its intellectual property holding company, Eindhoven, the Netherlands-based Bambi Medical BV is seeking patent protection for an enhancement to its flexible sensor belt that is worn around the abdomen for monitoring the vital signs of neonates.
Read More
Previous 1 2 … 8 9 10 11 12 13 14 15 16 … 19 20 Next

Popular Stories

  • Today's news in brief

    BioWorld
    BioWorld briefs for Dec. 22, 2025.
  • Today's news in brief

    BioWorld MedTech
    BioWorld MedTech briefs for Dec. 22, 2025.
  • Left: Anthony Fauci. Right: Transmission electron micrograph of HIV-1 virus particles

    HIV research is close to a cure but far from ending the pandemic

    BioWorld
    Advances in antiretroviral therapy (ART) now allow people living with HIV to lead normal lives with undetectable and nontransmissible levels of the virus in their...
  • Illustration of magnifying glass looking at cancer in the brain

    Researchers discover how glioblastoma tumors dodge chemotherapy

    BioWorld MedTech
    Researchers at the University of Sydney have uncovered a mechanism that may explain why glioblastoma returns after treatment, and the world-first discovery offers...
  • Illustration of brain with electrical activity background

    ABS-1230 controls seizures in KCNT1-driven severe epilepsy

    BioWorld Science
    Mutations in the KCNT1 gene produce gain-of-function effects that lead to overactivation of the potassium channel and consequent disruption of normal neuronal...
  • BioWorld
    • Today's news
    • Analysis and data insight
    • Clinical
    • Data Snapshots
    • Deals and M&A
    • Financings
    • Newco news
    • Opinion
    • Regulatory
    • Science
  • BioWorld MedTech
    • Today's news
    • Clinical
    • Data Snapshots
    • Deals and M&A
    • Financings
    • Newco news
    • Opinion
    • Regulatory
    • Science
  • BioWorld Asia
    • Today's news
    • Analysis and data insight
    • Australia
    • China
    • Clinical
    • Deals and M&A
    • Financings
    • Newco news
    • Regulatory
    • Science
  • BioWorld Science
    • Today's news
    • Biomarkers
    • Cancer
    • Conferences
    • Endocrine/Metabolic
    • Immune
    • Infection
    • Neurology/Psychiatric
    • NME Digest
    • Patents
  • More
    • About
    • Advertise with BioWorld
    • Archives
    • Article reprints and permissions
    • Contact us
    • Cookie policy
    • Copyright notice
    • Data methodology
    • Infographics: Dynamic digital data analysis
    • Index insights
    • Podcasts
    • Privacy policy
    • Share your news with BioWorld
    • Staff
    • Terms of use
    • Topic alerts
Follow Us

Copyright ©2025. All Rights Reserved. Design, CMS, Hosting & Web Development :: ePublishing